Select to view content in your preferred language

Merge close but non-contiguous polygons in the same feature layer

6315
2
Jump to solution
03-18-2022 10:42 AM
Labels (1)
Hope-Hauptman
Regular Contributor

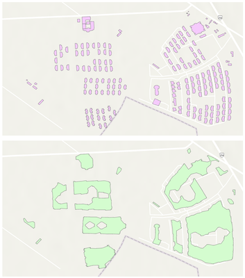
I would like to merge polygons that are close to one another but do not share a common boundary (see screen capture). I have tried 'dissolve' with and without multipart features checked, and 'dissolve boundaries', and using merge in the edit toolbar but nothing has worked. 

I am looking for something like 'dissolve if not further than 100 feet' or something like that. The aggregate polygons tool looks promising but it creates all these additional shapes. You can see from the attribute table that there is only one entry for all of the polygons which is confusing to me - is this a multipart shape? Thank you for any ideas. 

0 Kudos
1 Solution

Accepted Solutions
JayantaPoddar
MVP Alum

Let's see if these steps work for you.

1. Start with Aggregate Polygons. Aggregation Distance = 100 feet (as per your example).

JayantaPoddar_0-1647635444704.png

2. Execute a Spatial Join.

Target Features = Parcel layer

Join Features = Aggregate Polygons Output layer

Match Option = Largest overlap (or) Intersect

*Consider adding an "ID" field to capture the value of Join_Features' OBJECTID (if required).

JayantaPoddar_2-1647636731013.png

 

3. Dissolve the output layer of the spatial join, using the "ID" field.

JayantaPoddar_3-1647636989668.png

 



Think Location

View solution in original post

2 Replies
DavidPike
MVP Notable Contributor

Merging selected features in the editor toolbar would create multipart features as per your screenshot.  Integrate (Data Management)—ArcGIS Pro | Documentation might work but it's not ideal, be very aware of the caveat 'will modify input data' so ensure you are in an edit session to undo, or have a backup/copy of your data or subset for testing.

I've not used it, but Aggregate Polygons (Cartography)—ArcGIS Pro | Documentation looks very promising if you have an advanced license.  I think any method you try will take some time and fine-tuning and will need manual cleanup/intervention regardless.

JayantaPoddar
MVP Alum

Let's see if these steps work for you.

1. Start with Aggregate Polygons. Aggregation Distance = 100 feet (as per your example).

JayantaPoddar_0-1647635444704.png

2. Execute a Spatial Join.

Target Features = Parcel layer

Join Features = Aggregate Polygons Output layer

Match Option = Largest overlap (or) Intersect

*Consider adding an "ID" field to capture the value of Join_Features' OBJECTID (if required).

JayantaPoddar_2-1647636731013.png

 

3. Dissolve the output layer of the spatial join, using the "ID" field.

JayantaPoddar_3-1647636989668.png

 



Think Location